新闻动态

  • 阀门怎样进行强度试验和严密性试验?

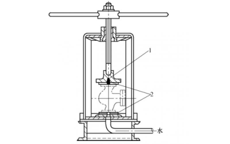
    阀门的强度试验和严密性试验一般在如图1所示的阀门水压试验台上进行。

    2024-07-19 玩球通(中国)

  • 涡街流量计指示偏低故障维修处理

    KWZK-DSRT-8系列涡街流量计时根据卡门(Karman)涡街原理测量气体,蒸汽或液体的体积流量,标况的体积流量或质量流量的体积流量计,并可作为流量变送器应用于自动化控制系统中。它是由漩涡发生体,检测探头以及相应的电子线路等组成。当流体流经漩涡发生体时,它的两侧就形成勒交替变化的两排漩涡,这种漩涡背成为卡门漩涡。卡门涡街的频率与流体的流速成正比。

    2024-06-03 玩球通(中国)

  • 差压变送器指示波动故障维修处理

    工作原理: 单晶硅谐振式传感器上的两个 H 形振动梁分别将差压转化为频率信号,采用频率差分技术,将两频率差数字信号直接输出到脉冲计数器计数,计数到的两频率差值传递到微处理器内进行数据处理。电气转换部分将传感器来的信号,经微处理器( CPU )处理和 D / A 电路,转换成一个对应于设定测量范围的4~20mA模拟信号。通过输入输出接口( I / O 接口)与外部设备(如BT200、HART475手操器和 DCS 中带通信功能的 I / O 模块),以数字通讯的方式传输数据,由于叠加在模拟信号上的数字信号的平均值为零,因此数字频率信号对4~20mA模拟信号不产生任何扰动影响

    2024-05-27 玩球通(中国)

  • 仪表常用设备点检及维护技能知识

    仪表常用设备点检及维护技能知识

    2024-04-07 玩球通(中国)

  • 导压管差压变送器偏差大

    导压管差压变送器偏差大

    2024-04-01 玩球通(中国)

  • 蒸汽减压阀安装要求和注意事项

    蒸汽减压阀安装要求和注意事项

    2023-11-30 玩球通(中国)

  • 蒸汽疏水阀容易被冻坏,防冻措施有哪些?

    蒸汽疏水阀容易被冻坏,防冻措施有哪些?

    2023-10-19 玩球通(中国)

  • 调节阀阀门在40%关不下去

    调节阀阀门在40%关不下去

    2023-09-27 玩球通(中国)

首页
产品
新闻
联系