KWZK-LB800系列漏电保护器小知识介绍
2023-04-21 玩球通(中国)
高温天,配电房巡检运行注意事项指南分享
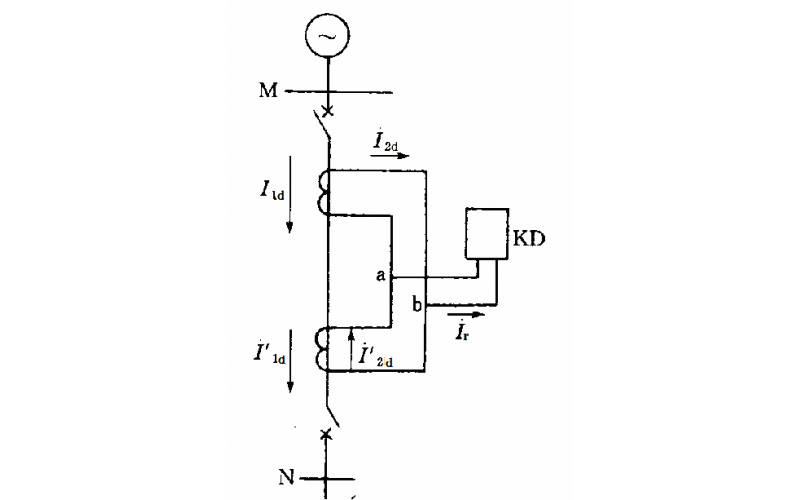
电力变压器的保护配置知识分享
2023-04-20 玩球通(中国)
停泵水锤危害很大,如何防护?
孔板流量计节流件方向装反会有什么影响
高炉双顶压控制知识分享
2023-04-19 玩球通(中国)
KWZK-WHY-Q系列气动球阀工作原理及常见故障知识分享
电除尘内部检修清灰知识分享