新闻动态

  • 仪表设备外壳接地和保护接地的区别

    安全防护:与保护接地类似,防止外壳带电伤人。 电磁屏蔽:抑制电磁干扰(如电子设备的外壳接地)静电释放:避免静电积累(如通信设备机柜)

    2025-07-29 玩球通(中国)

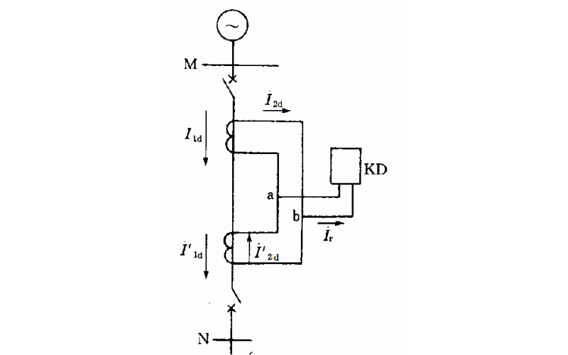
  • 发电机的保护功能及作用

    1. 纵差动保护:纵向对比发电机端与中性点的电流,发电机定子绕组及其引出线相间短路故障的主保护。 2. 横差动保护:横向对比分支电流,反映发电机定子绕组一相匝间短路和同一相两关联分支间的匝间短路故障。

    2024-07-17 玩球通(中国)

  • 某电厂启磨煤机导致母线失电机组跳闸案例分析

    事件前机组运行方式:#4机组有功:200MW,无功:48MVar,主汽温度532/533℃,再热汽温546/540℃,双侧风烟系统运行,厂用标准方式,#1-4磨煤机运行,#5磨煤机检修;#2给水泵运行,#3给水泵备用,#1给水泵检修。

    2024-05-20 玩球通(中国)

  • 发电机定子接地保护动作停机事件

    1号机组锅炉蒸发量381t/h、主蒸汽压力12.0MPa、主蒸汽温度535℃、再热蒸汽温度535℃、真空-85.1kPa、有功负荷106MW、无功负荷21MVAR、定子电压13.86KV、定子电流4555A、励磁电压134V、励磁电流1012A,厂用电源及轴封供汽由本机带,发电机主辅设备运行正常、保护投入正常,封闭母线微正压装置运行正常。

    2024-04-26 玩球通(中国)

  • 主变中性点绝缘方式及倒闸操作

    主变中性点绝缘方式及倒闸操作

    2023-07-25 玩球通(中国)

  • 主变中性点绝缘方式及倒闸操作

    主变中性点绝缘方式及倒闸操作

    2023-05-09 玩球通(中国)

  • 发电机的主要继电保护都有啥?

    发电机的主要继电保护都有啥?

    2023-04-26 玩球通(中国)

  • 电力变压器的保护配置知识分享

    电力变压器的保护配置知识分享

    2023-04-20 玩球通(中国)

上一页12下一页 转至第
首页
产品
新闻
联系